白皮书下载
实在智能Agent产品白皮书 V.7.3.4.pdf
运行记录
发刊日期:
2023/06/05
编辑团队:
实在学院
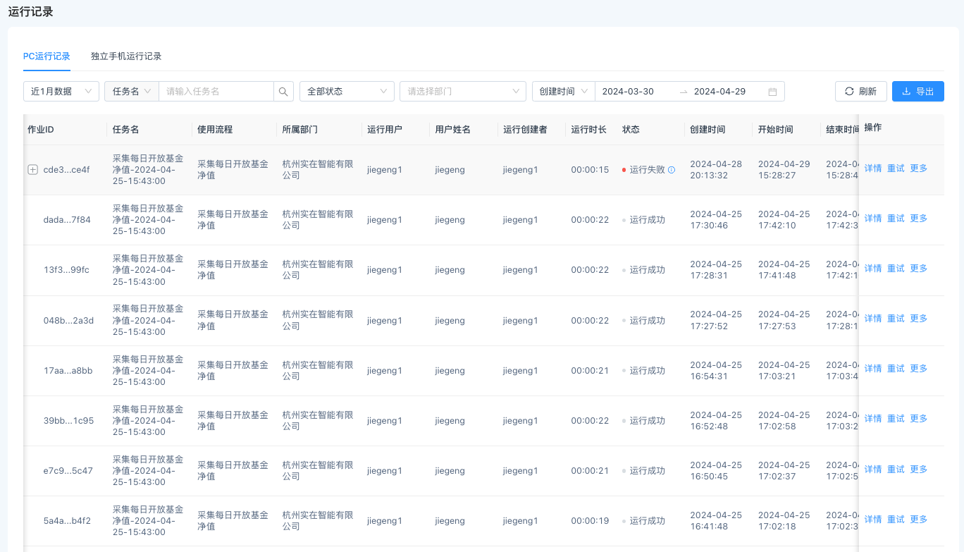
运行记录列表展示了所有流程运行生成的运行记录,默认查询近一个月数据,用户可切换查询所有数据,也可按任务名、作业ID、运行用户、状态、时间进行对应的记录搜索。支持查看运行记录的详情、日志、视频、参数、结果文件信息。支持对运行记录进行重试运行操作。

不同任务在不同机器人上运行时,若运行的机器人本身设置了不上报日志和录屏,则该运行记录无日志和视频查看操作;运行的流程未设置全局引用参数配置,那使用该流程的任务在运行时是没有参数查看的操作。
支持导出运行记录,可导出全部数据,也可导出当前筛选条件下的数据。导出数据量上限为3w条,超过 3w 条的数据可分批导出。
运行记录详情可查看此次运行记录的基本信息、使用的流程信息、各节点详细的进度信息。同时,流程定位功能可帮助用户了解当前流程的运行状况(包括错误情况)。

当某个流程运行失败时,点击“流程定位”图标,可看到此流程在哪个流程块失败以及具体失败原因,双击流程块可进入到组件信息页面,查看具体失败的组件信息。如下图所示:


说明:流程定位功能需要使用6.3.0及以后版本设计器开发的流程包,且需要由6.3.0及以后版本机器人运行,二者缺一不可;否则,无法进行定位。
运行记录重试:运行记录可操作“重试”,重试表示重新执行一遍此记录,重新执行时记录的引用参数、操作人、创建者、运行用户、所属部门均不会发生变化;重试时可根据所需调整引用参数,若不调整则使用原有参数值执行。





