白皮书下载
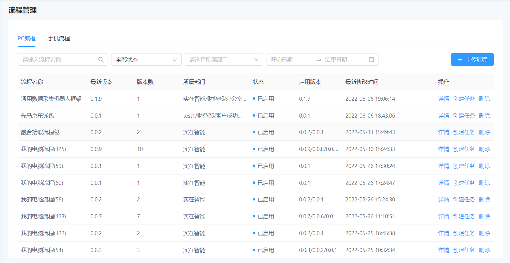
流程管理
用户在实在RPA设计器发布的流程,可以在控制器的【流程管理】中进行查看和操作。同时也支持在控制器自行导入外部流程包。
流程包括:
- PC流程:设计器创建的电脑流程、后台流程、模拟手机流程均属于PC流程。这几类流程可以通过创建PC任务的方式,指派给PC机器人运行。
- 手机流程:设计器创建的手机流程,此流程通过手机任务的方式,指派给手机机器人运行。

- 在【流程管理】列表,支持展示流程的名称、版本、状态等信息。用户可以通过搜索和筛选,快速定位具体流程。
- 用户可以查看流程的详细信息,在【任务管理】中选择具体流程,建立任务并分配到机器人执行。
一、新增流程
点击列表右上角的“上传流程”,上传流程包文件(zip格式),并选择需要使用该流程的部门。
- 流程名称和版本号相同的情况下,系统会认为是同一个流程,不能重复创建。
- 流程名称相同,版本号不同的情况会认为是同一个流程下的不同版本。

● 所属部门:该流程所属的具体部门。当用户的数据权限为该部门时,则此用户可查看并使用此流程。
● 流程效益:支持多种效益计算方式,可自行选择该流程适合的计算方式,并维护对应的指标,这个指标作为效益统计看板的统计依据,填写的准确性会影响统计结果,请按实际情况如实填写。
● 启用:启用后,该流程版本即可在【任务管理】被选中,进行后续的任务执行。
二、查看流程详情
点击列表操作列的“详情”,可查看该流程的详情信息以及版本信息。针对不同的版本,用户可以进行启用/禁用、下载流程包、查看流程图、编辑流程和删除版本等操作。

● 修改所属部门:流程详情中可针对流程修改其所属部门,支持单选、多选,也可只选一个子部门。

● 启用/禁用流程包:启用时,用户进行任务新增和编辑时,可以选择该流程进行调度,指派给机器人运行;禁用状后,则新增和编辑任务时选择流程,此流程包不在选择范围内。
● 下载流程包:流程包支持下载,点击下载图标即可下载此版本的流程包。
● 查看流程图:点击查看流程图的图标,可以打开此流程包的详细流程图,双击其中任一流程块,可查看此流程块的组件信息。注意:仅支持此功能上线后再上传的流程包。如下图所示:
.png)
● 删除流程:点击删除图标,即可删除此版本的流程包。注意:流程包被任务调度使用时,不可删除。
同时,可以查看该流程具体的使用统计和使用记录,并支持按照不同时间、不同指标的维度进行数据的统计。
.png)
三、删除流程
在流程列表进行“删除”操作,会删除这个流程下所有版本。若只想删除其中的某一个版本,需要进入到详情页面,选择要删除的版本,点击“删除”图标即可。
注意:
1、已被任务使用的流程不支持删除。
2、待运行的任务使用到此流程,此时也不支持删除。
四、快速创建任务
在流程列表选择对应流程,点击操作列的“创建任务”,在弹出的新建任务页面中,填写相关信息后即可快速创建任务,详见【任务管理】。





