白皮书下载
实在智能Agent产品白皮书(7.2.0).pdf
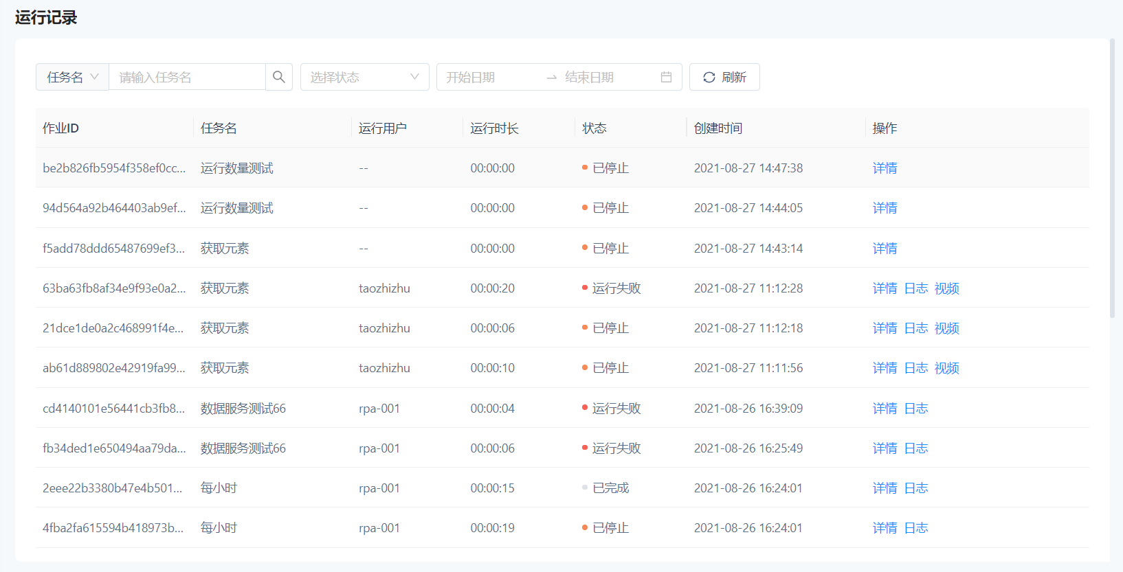
Operation record
发刊日期:
2021/10/15
编辑团队:
实在学院
The operation record list shows the operation records generated by all application operations. You can search the corresponding records by task name, job ID, operation user, status and time. It supports viewing details, logs, videos and parameter information of operation records.
When different tasks run on different bots, if the running BOT itself is set to not report logs and record screens, the operation record has no log and video viewing operations; The running application does not set the global reference parameter configuration, so the task using the application has no parameter viewing operation at run time.





