白皮书下载
实在智能Agent产品白皮书 V.7.3.4.pdf
Audit log
发刊日期:
2021/10/15
编辑团队:
实在学院
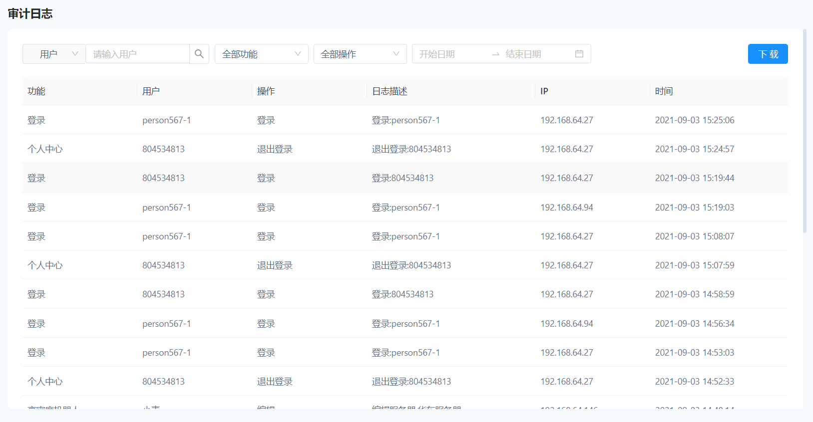
The audit log records various operations performed by users in the commander control center. For abnormal deletion and modification of business data, you can find the corresponding log records here to facilitate tracking to the specific responsible personnel.
The audit log shows the user, function, operation, detailed description, IP and occurrence time. It also supports multi condition query, and supports downloading Excel files for local saving.





